I
int0
New member
Hello-
My Teac 80-8 was working great until the other day when all the motors decided to stop turning.
The unit turns on, but I can't Play/FF/RWD. I replaced all the fuses even though they seemed to be ok, to no avail.
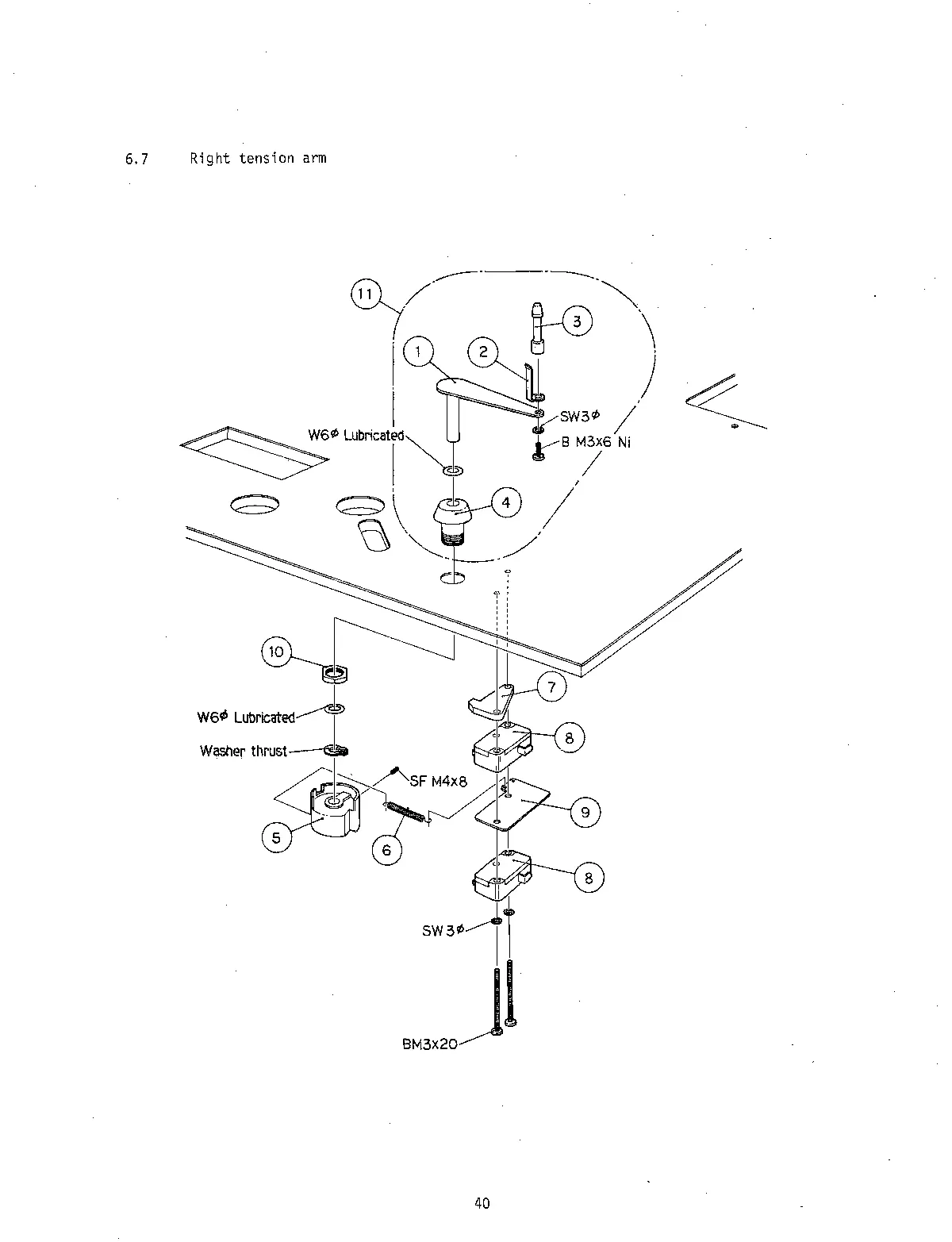
When I lift the tensioner arm, the capstan does not start. Could this possibly be a faulty switch on the tensioner arm? Is there an easy way to test that? Or any other ideas/troubleshooting steps I can try?
Thanks for any help!
My Teac 80-8 was working great until the other day when all the motors decided to stop turning.
The unit turns on, but I can't Play/FF/RWD. I replaced all the fuses even though they seemed to be ok, to no avail.
When I lift the tensioner arm, the capstan does not start. Could this possibly be a faulty switch on the tensioner arm? Is there an easy way to test that? Or any other ideas/troubleshooting steps I can try?
Thanks for any help!

