Remote Control for TSR8? Is it the same as the 238?

  • Thread starter Thread starter altruistica
  • Start date Start date
altruistica

altruistica

Member
I know from the TSR8 manual that the remote for this machine is the RC-408 but they are hard to come by. The remote for Tascam's range of 8-track multi-trackers, the 688, and the 238 is the RC-88 unit. I have read on various forums that the later remote the RC-88 will in fact work with the TSR8. Has anyone on this forum ever confirmed this to be true? Both remotes physically look very similar but that's maybe where the similarity ends.
 
Well, huh. My gut-hunch is they are compatible, but I don’t know that for sure. I looked at the service manuals, but no easy answers there…the 238/688 use different logic processors than the TSR-8, and the way the pinout is labeled on the schematics for each is vastly different, so I can’t compare that way. One would have to study the actual function of the pins on the processor to which each pin of the remote connector connects to compare. I don’t have that time to spare right now unfortunately. Al, do you have the service manuals for the TSR-8 and 238? I’m assuming you do for the latter.
 
My TSR-8 came new with an RC-408. Aside from other compatibility issues, what makes this one different than most other Tascam remotes I have is that it's a round, 7 pin DIN style connector. Most of my other, older Tascam machines use remotes with an oblong connector, like the RC-402 that my BR-20 uses. The RC-88 I Googled up looks close to the 408, but not exactly the same.
 
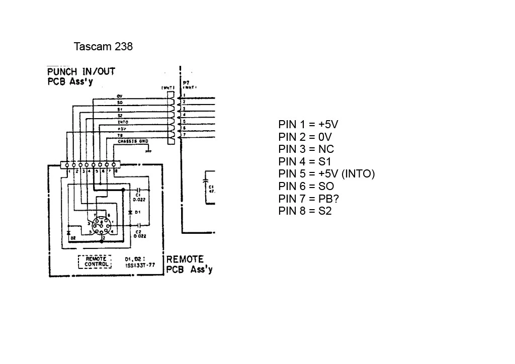
I've had a look at the schematics for the 688, the TSR8 and the 238. They all have the 8-pin DIN plug and if my interpretations of the schematics are correct, have the correct voltages on the pins. Anybody have time to verify this on the schematics I've uploaded? Thanks Al
 

Attachments

  • remote control schematic  connectors for Tascam 688, TSR8 and 2381024_1.webp
    remote control schematic connectors for Tascam 688, TSR8 and 2381024_1.webp
    67.4 KB · Views: 318
  • remote control schematic  connectors for Tascam 688, TSR8 and 2381024_2.webp
    remote control schematic connectors for Tascam 688, TSR8 and 2381024_2.webp
    38.8 KB · Views: 295
I thought I had posted this yesterday.....I think I forgot to press 'post reply' as it was waiting on me.
 
My TSR-8 came new with an RC-408. Aside from other compatibility issues, what makes this one different than most other Tascam remotes I have is that it's a round, 7 pin DIN style connector. Most of my other, older Tascam machines use remotes with an oblong connector, like the RC-402 that my BR-20 uses. The RC-88 I Googled up looks close to the 408, but not exactly the same.
It's actually 8 pins
 
If they're electrically compatible it might be worth trying, but there's no guarantee that they're using the same serial protocol. Especially since they have different numbers of buttons. If it works at all you will probably have to figure out which key does what by experimentation, and make up some labels.

If you just need simple controls like start, stop, record, play etc it might be better to get or build something that uses the parallel remote since the protocol for that is pretty straightforward.

For what it's worth, the RC408 doesn't actually give you any feedback for more complex things like arming tracks, so you may as well do that on the deck itself to ensure that it actually worked and is about to do what you think it's doing.
 
Thanks JP. I seem to remember you have a TSR8 yes?
Yes. I still have the RC408 but I'm not using it a lot at the moment. The buttons were always pretty flakey, probably needs me to open it up and clean them. These days I usually just use the automatic punch in and run to the other room.
 
Late to the party - I did use an RC88 with my TSR8 - some of the buttons are different, but I don't remember which ones. Basically, you have to remember which button does what... More frustrating than worthwhile.
 
Back
Top